不锈钢玻璃转子流量计
发布时间:2025-01-17 ???
浏览次数:
ZH-LZB()B/LZJ系列
不锈钢玻璃转子流量计广泛应用于化工、石油、轻工、医药、环保、食品及计量测试、科学研究等部门,测量单相非脉动流体(液体或气体)的流量。ZH-LZB/( )F/LZJ-( )F系列耐腐型玻璃转子流量计有较强的耐腐性能,可检测酸(氢氟酸除外)、碱、氧化剂和其它腐蚀性的气体或液体的流量,适用于化工、制药、造纸、污水处理等行业。全不锈钢型
不锈钢玻璃转子流量计法兰、浮子、导杆、支承板及螺栓等均为不锈钢304(1Cr18Ni9Ti),型号为ZH-LZB-( )B。接液材质如需选用316,则型号为ZH-LZB-( )Bo,需定做。如需不锈钢内衬PTFE,则型号为ZH-LZB-( )BF(或BoF),需定做。全四氟型基座、浮子、针阀采用聚四氟乙烯(PTFE)。支承板、螺丝等采用不锈钢
原理与结构
不锈钢玻璃转子流量计由一根自下而上扩大的锥形玻管和一只随流体流量大小上下移动的不锈钢浮子组成(图3)。流体自下而上流经锥管时,流体动能在浮子上产生的升力S和流体的浮力A使浮子上升,当升力S与浮力A之和等于浮子自身重力G时,浮子处于平衡,稳定在某一高度位置上,锥管上的刻度指示流体的流量值。
流量计中浮子读数位置按图2所示: |
 |
|
|
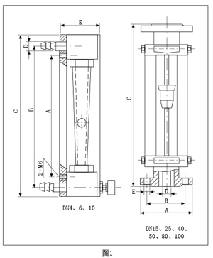
ZH-LZB/LZB-( )F流量计的锥管为光滑内壁管(见图4),通径DN15以上的流量计,浮子通过导杆 上下移动,保持稳定;ZH-LZJ/LZJ-( )F流量计锥管 内壁有三条导向凸筋,使浮子保持稳定(见图4)。通径DN10以下的流量计采用软管连接,配有针形流量调节阀;通径DN15以上流量计采用法兰连接。
 |
型号规格及技术参数
全不锈钢型
法兰、浮子、导杆、支承板及螺栓等均为不锈钢304(1Cr18Ni9Ti),型号为ZH-LZB-( )B。
接液材质如需选用316,则型号为ZH-LZB-( )Bo,需定做。
如需不锈钢内衬PTFE,则型号为ZH-LZB-( )BF(或BoF),需定做。
全四氟型
基座、浮子、针阀采用聚四氟乙烯(PTTFE)。支承板、螺丝等采用不锈钢