


|
型谱 |
说明 |
|||||||
|
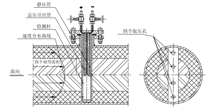
ZHANB- |
阿牛巴流量计 |
|||||||
|
安装形式 |
M |
螺纹 |
||||||
|
F |
法兰 |
|||||||
|
本体材质 |
1- |
碳钢 |
||||||
|
2- |
不锈钢 |
|||||||
|
3- |
耐高温材质 |
|||||||
|
测量管径 |
50- |
|
DN50 |
|||||
|
65- |
|
DN65 |
||||||
|
80- |
|
DN80 |
||||||
|
100- |
|
DN100 |
||||||
|
125- |
|
DN125 |
||||||
|
150- |
|
DN150 |
||||||
|
- |
|
...... |
||||||
|
6000- |
|
DN6000 |
||||||
|
工作压力 |
1 |
|
0.6 MPa |
|||||
|
2 |
|
1.6 MPa |
||||||
|
3 |
|
2.5 MPa |
||||||
|
4 |
|
4.0 MPa |
||||||
|
5 |
|
6.4 MPa |
||||||
|
6 |
|
10.0 MPa |
||||||
|
工作温度 |
1 |
120℃以下 |
||||||
|
2 |
220℃以下 |
|||||||
|
3 |
250℃以上 |
|||||||
|
介质类型 |
LC |
|
干净液体 |
|||||
|
GC |
|
清洁气体 |
||||||
|
LT |
|
易脏液体 |
||||||
|
GT |
|
易脏气体 |
||||||
|
VM |
饱和蒸汽 |
|||||||
|
VH |
|
过热蒸汽 |
||||||
|
附件 |
00 |
不带附件 |
||||||
|
01 |
仅配差压变送器(含三阀组) |
|||||||
|
10 |
仅配流量积算仪 |
|||||||
| 11 | 配差压变送器和流量积算仪 | |||||||
|
12 |
配多参量流量变送器 |
|||||||
